|
WGT接中间套鼓形齿式DAJIANG.COM_大江(中国)
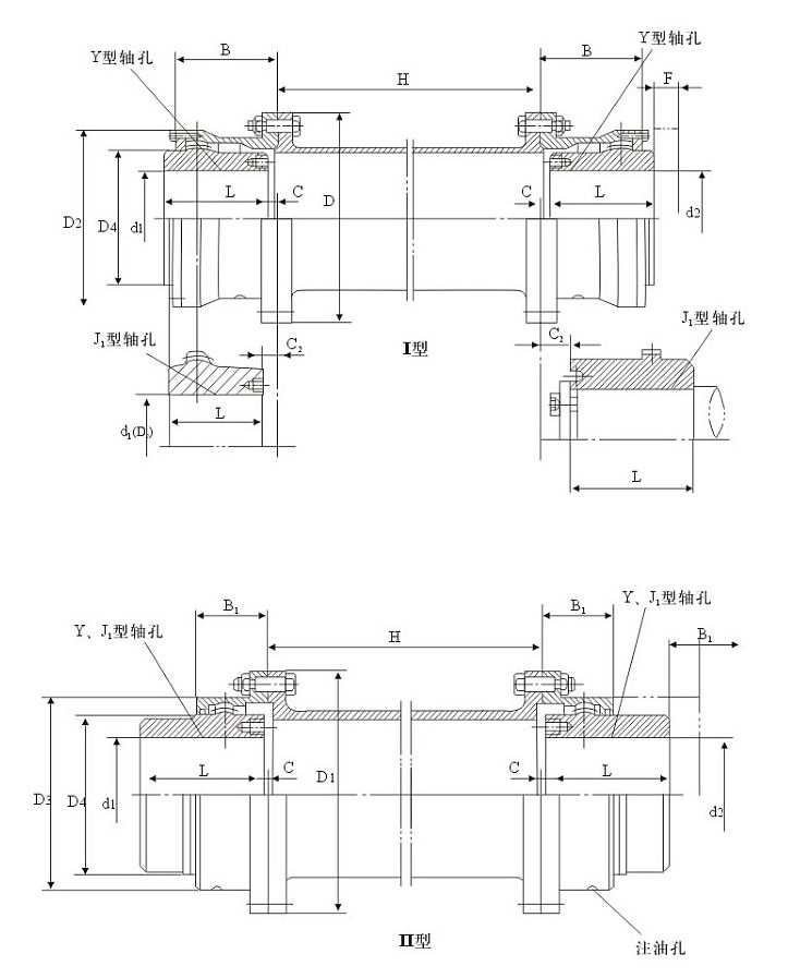
WGT接中间套鼓形齿式DAJIANG.COM_大江(中国)属于鼓形齿式DAJIANG.COM_大江(中国)的一种简称“鼓齿DAJIANG.COM_大江(中国)”,分为I型和II型两种形式,WGT接中间套鼓形齿式DAJIANG.COM_大江(中国)I型为带压盖型,优点在于拆卸压板即可检验、更换外齿;缺点是制作工序叫为复杂重量大价格高。WGT接中间套鼓形齿式DAJIANG.COM_大江(中国)II型为不带压盖型,优点是价格便宜。
WGT接中间套鼓形齿式DAJIANG.COM_大江(中国)是齿式DAJIANG.COM_大江(中国)的改进型,相对于直齿DAJIANG.COM_大江(中国)来说可允许更大的角位移,可提升齿的接触条件,提高传递转矩的能力,延长使用寿命,具有角位移时沿齿宽的接触状态,由齿数相同的内齿圈和带外齿的凸缘半DAJIANG.COM_大江(中国)等零件组成。
WGT接中间套鼓形齿式DAJIANG.COM_大江(中国)在工作时,两轴产生相对角位移,内外齿的齿面周期性作轴向相对滑动,必然形成齿面磨损和功率消耗,因此,齿式DAJIANG.COM_大江(中国)需在有良好和密封的状态下工作。齿式DAJIANG.COM_大江(中国)径向尺寸小,承载能力大,常用于低速重载工况条件的轴系传动,高精度并经动平衡的齿式DAJIANG.COM_大江(中国)可用于高速传动。
WG型--基本型;
WGP型--带制动盘型,适用于与点盘式制动器配套;
WGZ型--带制动轮型,适用于与瓦块式制动器配套;
WGT型--接中间套型,适用于两轴长距离联接,许用转速[n]取决于中间套的长度和质量,并应验算临界转速;
WGC型--垂直安装型,用于联接垂直的两轴线轴系传动;
I型--密封端盖为分离型,齿间距较大,可以允许较大的径向位移,可与Y、J1、Z1型轴伸联接;
![]() ![]() ![]() |





